【摘要】 IT媒体《Phone Arena》等主要外媒6日(当地时间)报道说,中国智能手机制造商OPPO在世界知识产权组织(WIPO)申请了将相机分离的智能手机专利
IT媒体《Phone Arena》等主要外媒6日(当地时间)报道说,中国智能手机制造商OPPO在世界知识产权组织(WIPO)申请了将相机分离的智能手机专利。
OPPO一直在智能手机技术创新方面频频发力,旗下reno等系列的诞生足以证明OPPO对于产品的设计实力。而在近期OPPO在深圳举行了未来科技大会中,OPPO全球首发了卷轴屏概念手机OPPO X 2021,让人眼前一亮。
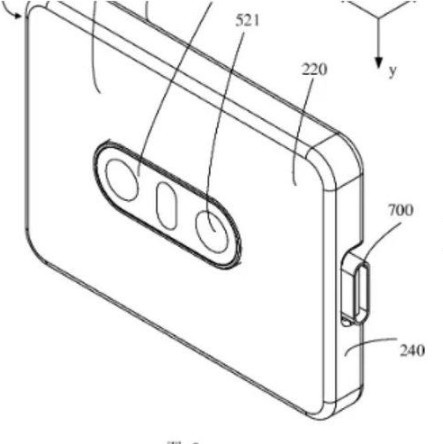
这几天OPPO又曝光了一项摄像头专利,OPPO将手机后置相机模组做成了可拆卸的模块化设计,模块取下后可以直接变成前置镜头,非常的方便。

据专利描述,该相机模块内置电池并支持USB-C、Wi-Fi、蓝牙、NFC连接。另外,相机模块拥有两个传感器和一个药丸状的LED闪光灯。

