【摘要】 在被公安刑拘后,8月1日晚,吴亦凡个人微博@Mr_凡先生 及其工作室微博@Mr_吴亦凡工作室被曝已无法查看。新浪微博解散相关违规群组789个,

在被公安刑拘后,8月1日晚,吴亦凡个人微博@Mr_凡先生 及其工作室微博@Mr_吴亦凡工作室被曝已无法查看。新浪微博解散相关违规群组789个,已禁言和永久关闭账号共990个。
目前相关面均显示:该账号因被投诉违反法律法规和《微博社区公约》的相关规定,现已无法查看。与此同时,曾公开力挺吴亦凡的马薇薇、六六的账号禁言后再被注销、苏芒的账号则被禁言处理。
其实,早在2016年,吴亦凡就该凉了。
当时深陷“约P门”的他,被绯闻女友“小G娜”公开了私密照和聊天记录。更有受害者为了支持“小G娜”,放出了自己与吴亦凡的床照,图片中吴亦凡的脸清晰可见。
这要是放在近几年,早就被锤得透透的,照片都出来了,妥妥的实锤啊。可5年前的吴亦凡,竟然硬生生地将此事公关了过去,自己沉寂了一段时间又开始出来抛头露面。
而帮助他渡过难关的,正是背后的资本,耀莱集团的实际控制人綦建虹。吴亦凡在内地从事的广告、电影等演艺事务,全都是由耀莱全权代理和全面负责。

国内追星界第一白富美
说起耀莱集团与綦建虹,大家可能并不了解,但提到他的女儿,相信各位一定有所耳闻,那便是曾被称作“国内追星界第一白富美”的綦美合。
2014年4月,一个微博名为@美合Emily12的女生,晒出了自己与韩国男团EXO的合影,图片中可以看到黄子韬、张艺兴、鹿晗和吴亦凡等一众EXO成员正坐在桌旁,而紧贴在他们身后的正中间站着两位少女,其中正对着镜头微笑的,便是綦美合。

之后,她又单独晒出了一张与吴亦凡的合影,惹得一众粉丝对她各种羡慕嫉妒恨。
要知道,在韩国娱乐公司的规则下,艺人直接和粉丝在后台合影,是完全不被允许的。
但她毫不在乎,首先他们合影的场地,是在成龙60岁生日演唱会的庆功宴上,一般人进不来。其次,她有个好父亲,名叫綦建虹。

綦建虹与成龙
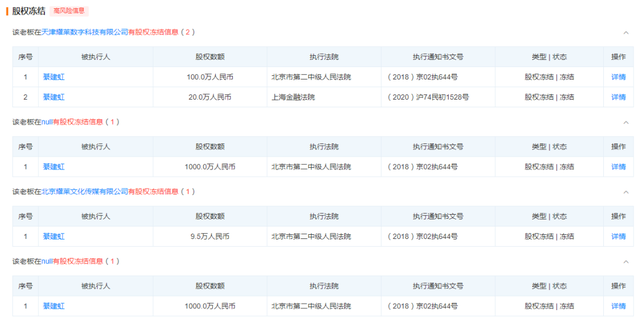
天眼查显示,綦建虹担任着100家公司的法定代表人,是14家公司的股东,在44家公司担任高管,更是实际控制了181家公司。

图片来源:天眼查APP
綦建虹出生于1967年,1988年毕业于北京钢铁学院自动化系机械自动化控制及计算机专业。刚毕业的他,选择了和自己专业对口的工作计算机销售,也就是我们说的卖电脑,并且他还卖得很好。
1991年,綦建虹成立了北京金科公司任副经理;1992年,他又担任了北京四通公司机电工程公司总经理,干的都是帮公司销售计算机,以及拓展销售渠道的活。
或许是因为卖计算机的利润不高,又或许是在刚刚改革开放的8、90年代,一部分人已经开始富起来,綦建虹敏锐地发现当时中国的奢侈品市场还没有人涉足。于是在1996年,綦建虹便成立了贸易公司,主要涉及各国的奢侈品。
他先是与香港地区珠宝大王谢瑞麟合作珠宝生意,而后又在2002年拿下宾利和劳斯莱斯在北京的代理权。
到2008年,綦建虹控制的从事豪车代理业务的美合振永以及德特公司,通过香港地区漫画公司玉皇朝集团借壳上市,后更名为耀莱集团。
值得注意的是,玉皇朝集团正是香港著名漫画家黄玉郎所在的集团,旗下代表作有《龙虎门系列》、《神兵玄奇系列》、《天子传奇系列》等等。
如今,耀莱集团早已失去曾经玉皇朝的荣光,成为港股市场一只名副其实的仙股,截至今日收盘,股价停留在0.196港元/股,总市值仅剩10.73亿港元。
因为与香港富豪相熟,綦建虹与香港明星也颇为熟悉,这其中最著名的就要数成龙。

綦建虹与成龙
成龙和綦建虹认识的很早,据说成龙每次来内地,十次有九次都是綦建虹接待。双方也有很多商业上的往来,比如合作开了耀莱成龙影城,又比如成龙的私人飞机都是耀莱航空旗下的。
在成龙60岁生日演唱会的庆功宴上,自然而然少不了綦建虹这位老友,而作为EXO吴亦凡多年老粉的綦美合,也随着父亲一同到了现场。
于是,成龙、綦建虹与吴亦凡之间的时间线,开始收缩。

成功打入“京圈”
这次生日会一结束,吴亦凡立马向韩国公司提出解约,并且迅速向“京圈”冲刺。
要知道,作为一个刚刚归国不久的韩国男团成员,想进入中国电影行业最高圈子的“京圈”,几乎是不可能的事儿。
但吴亦凡不怕,毕竟自己抱着两条又粗又长的大腿,成龙和綦建虹。
首先,作为香港老大哥的成龙,在内地娱乐圈的地位极高,京圈的朋友更是不少,比如张国立、冯小刚、李冰冰等等,他们还曾一起参加过一档综艺节目《我看你有戏》。
其次,綦建虹掌控的耀莱影视,在2014年刚刚被北京市国资委正准备借壳上市的文投控股给并购了,綦建虹一下成了A股影视娱乐公司的操盘手,深入影视行业。成龙、冯小刚、张国立等人,也早已持有文投控股的股票,同为股东。

这下大家都是一条绳上的蚂蚱,扶个吴亦凡,不就是理所当然的事儿,至此小吴的事业一发不可收拾。
2015年,吴亦凡主演了由徐静蕾执导、王朔编剧的电影《有一个地方只有我们知道》,成功打入京圈。
随后吴亦凡更是与冯小刚在《老炮儿》里对戏,和刘亦菲在《致青春·原来你还在这里》咆哮,在周星驰的《西游伏妖篇》里当男一号。

当时吴亦凡、周星驰和徐克在采访里被问,为什么选吴亦凡演主角?吴亦凡还天真地以为“一定是由于我的表演”,把星爷和徐克笑地合不拢嘴。现在看,当然是因为你背后的资本啦,傻仔!
就这样,一边是顶级的资源,一边是庞大的耀莱院线,吴亦凡就这样被推上了绝对的顶流,短短2年时间,毫无演技的他拿到了很多老戏骨一辈子都拿不到的电影剧本和奖项,成为了一颗真正的摇钱树。
而其背后的綦建虹,更是在娱乐圈里呼风唤雨。2016年,耀莱不仅作为联合出品方参投了《我不是潘金莲》,还以5亿元的竞价拿到该片的保底发行权。当年的圣巴斯蒂安电影节,范冰冰凭借此片夺得影后,颁奖致辞时曾热泪盈眶地说“感谢小綦哥”。

差点塌房,却被资本保住
成功站上流量顶端,享受着流量红利的吴亦凡,很快成为了拥有千万级粉丝的流量明星,也成为了资本的宠儿,各种大牌广告代言纷至沓来,其中不乏 LV、BEATS、奔驰、麦当劳……
迅速赚得盆满钵满的吴亦凡,在资源、资本和金钱的浸泡下,开始膨胀,到处摆弄自己的牙签。结果,小G娜没忍住,曝出了私密照和聊天记录,吴亦凡“出轨门”事件搞得沸沸扬扬,一度差点塌房。
为了化解这场危机,成龙大哥甚至不惜亲自下场,保护吴亦凡。成龙在采访中说道:“每个人都有负面新闻,个个都有,我都会有啦,那些新闻会过去。(会骂他吗?)不会啦,叫他低调少出声。”再加上綦建虹出手,吴亦凡的公关危机很快便过去,事情从此没有了下文。

而就在事情刚刚过去后,吴亦凡妈妈创办的香港星睿文化传媒有限公司,便火速与綦建虹的耀莱影视签约,吴亦凡在中国大陆范围内的广告、电影等演艺事务,将由耀莱影视全权代理和全面负责。这其实也是,吴亦凡妈妈为了感谢綦建虹,帮助自己儿子渡过难关,还的一个人情。

綦建虹的破产,与吴亦凡的落幕
于是在2017年,吴亦凡的事业达到了巅峰。
他主演的电影《极限特工:终极回归》、《星际特工:千星之城》接连上映,两部好莱坞大片,明显是想以此来打入国际市场。
除此之外,吴亦凡还获得很多重量级的荣誉:
比如登上美国福布斯 30 岁以下杰出人物青年领袖榜;
比如获得第 11 届音乐盛典咪咕汇“年度最佳男歌手奖”和“年度最具号召力歌手奖” 。
最重要的是,这一年,吴亦凡在综艺节目《中国有嘻哈》里担任明星制作人,这让他在潮流时尚领域,也无出其右,各种牌代言纷至沓来。

短短几年间,吴亦凡就赚了几十亿元。
然而,綦建虹没有料到,吴亦凡虽然很给力,但自己却被另外一位好友冯小刚给坑了。
2016年文投控股上市不久,綦建虹就拿着手里的股权,在厦门信托做了质押,获得35.48亿元信托资金,用于耀莱融资。按照约定,这笔钱需要在2018年还上。
彼时正在影视行业顺风顺水的綦建虹,根本就没想到自己会还不上,“我那么多资源,那么多朋友,还会还不上这点小钱?不存在的。”
但谁都没想到,自己的好友冯小刚,突然整出了《手机2》,把隔壁崔永元惹毛了,公布了范冰冰的阴阳合同。这一连串的连锁反应,直接让整个影视行业进入寒冬,各个影视公司和明星人人自危,毕竟偷税漏税可是大事,不少人还因此坐了牢。
受此影响,文投控股的股票犹如做了过山车一般,从开年的2018年23.11元/股,直接冲到了年底的4.5元/股,跌幅接近80%。

行业寒冬,股票大降,钱肯定是还不上了。于是在2018年10月耀莱集团宣布破产,綦建虹被列为被执行人,名下位于北京朝阳区的7处房产被查封。除此之外,其担任法人的子午线通用航空有限公司、耀莱文化产业股份有限公司、耀莱航空地面服务有限公司被列为失信被执行人的信息共7条,且全部未履行。

图片来源:天眼查APP
地主家也没有余粮了,吴亦凡上升的势头也就戛然而止。原本綦建虹是想把吴亦凡打入好莱坞,收割全球市场,结果出演完《星际特工:千星之城》,就没有下文了。
没有了綦建虹的资本,也就失去了成龙大哥的庇护。失去了京圈、港圈的资源,吴亦凡在电影事业上再无建树,好在在《新说唱》表现不错,还能维持在顶流。
也因此,腾讯视频抛来橄榄枝,斥5亿重金打造了电视剧《青簪行》,但没想到,没有大佬的庇护,也就没有了大佬的监督,吴亦凡越玩越野,于是都美竹横空出世,于是如今全民喊打,直至被公安拘留……
如今,却还有一些大V在帮吴亦凡洗地。
对此新华社评论道,如果说,资本往往“隐秘”、平台暗中“放纵”,而那些公众人物“护丑”则是公开“助恶”,直接败坏社会风气、拉低道德和良知底线,他们在“饭圈文化”的塑造、年轻人价值观的形成过程中,扮演的“坏教师”角色不可小视。
