【摘要】 即便是华为如今受到了严厉的打压和制裁,依然是无法阻止华为的脚步,华为还是那个华为,一刻不停地在继续向前奔跑。不仅是下半年的华为Mate
即便是华为如今受到了严厉的打压和制裁,依然是无法阻止华为的脚步,华为还是那个华为,一刻不停地在继续向前奔跑。不仅是下半年的华为Mate40系列没有受到任何影响,明年的华为P50系列同样也不会受到一丝影响
华为Mate40系列在拍照上的一大亮点就是华为Mate40 Pro+的那颗自由曲面镜头,能够有效避免超广角照片边缘的畸变。而在明年的P50系列上,华为将为该系列手机配备之前盛传已久的液体镜头。值得注意的是,这可能也是该系列某款机型上的特有配置。

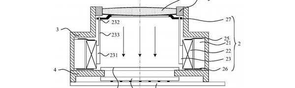
华为液体镜头专利示意
据介绍,应用在手机上的液体镜头为电式液态镜头,可通过不同的电压改变液体的形状进而控制对焦成像。这项技术的一大优势在于可以快速对焦,甚至能够达到人眼级别的对焦速度。对焦是拍照的重要一环,而快速稳定的对焦是拍出清晰好看照片的重要保证。除此之外,这种镜头还能拥有成像稳定,免去TOF镜头带来的额外硬件要求以及更小的占位空间。

华为液体镜头专利示意
另外在今,中国国家知识产权局已经批准了华为一项液体镜头相关专利,该专利在2019年12月25日提出申请,2020年4月7日获得批准。这项专利包括移动马达,连接弹簧、限制器、液体透镜等。
如果液体镜头真的实装到华为P50系列或者其中某款机型上,那么这款手机的相机拍照体验将会有明显提升。
